PGJ-C04-03,PGJ-C06-03,PGJ-C06-04,調(diào)速閥
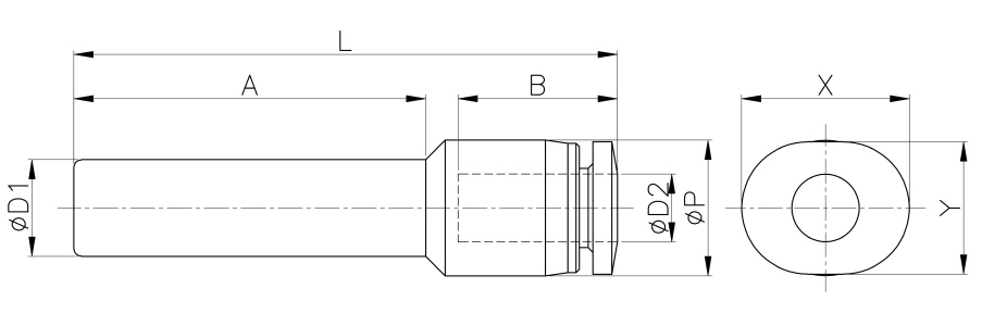
| Model | ¢D1 | ¢D2 | ¢P | L | A | B | X | Y | ORIFICE | WEIGHT(g) | BOX(EA) |
| PGJ-C04-03 | 4 | 3 | 7.6 | 30.4 | 18 | 11.3 | 9.2 | 7.2 | 2.4 | 1 | 100 |
| PGJ-C06-03 | 6 | 3 | 7.6 | 32 | 21.6 | 11.3 | 9.2 | 7.2 | 2.4 | 2 | 100 |
| PGJ-C06-04 | 6 | 4 | 8.4 | 33.7 | 21.8 | 11.8 | 10.4 | 8.2 | 3 | 3 | 100 |
外形尺寸

客服熱線:

